数百家门店,败给了商标一字之差
  • 作者:小编
  • 发表时间:2025-08-20 09:08

2010年,湖北丽橙连锁酒店有限公司在第43类服务上成功注册了“丽橙酒店”商标,开启了品牌发展的征程。

图片

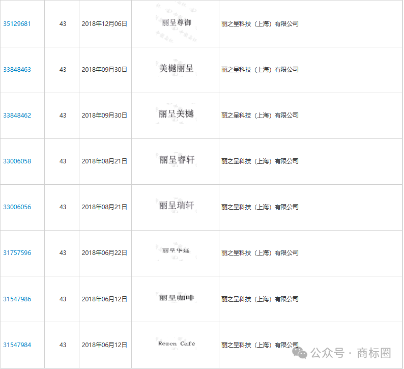
而在2018年,丽之呈科技(上海)有限公司开始在第43类服务上注册一系列包含“丽呈”字样的商标,如“美樾丽呈”“丽呈尊御”“丽呈咖啡”等。

图片

丽橙酒店认为这些商标与自己在先注册且具有一定影响力的“丽橙酒店”商标极为近似,极易导致消费者对商品或服务来源产生混淆误认,于是毅然对丽呈酒店持有的相关商标提出无效宣告请求。由此,一场商标大战正式拉开帷幕。

图片

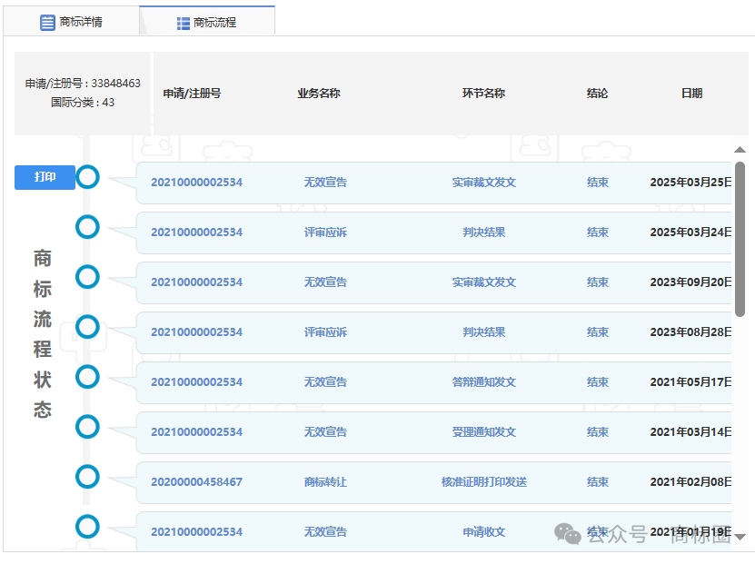
这起纠纷在商评委、法院等多个机构间历经多轮审理,过程跌宕起伏,更让人意想不到的是:三级法院给出了完全不同的判决。


2018年,丽橙酒店公司针对丽之呈科技公司注册的“美樾丽呈”商标提出无效宣告请求,商评委经审查后,宣告诉争商标“美樾丽呈”无效。然而,丽之呈科技公司并不服商评委的这一裁定,向北京知产法院提起行政诉讼。北京知产法院经审理认为,诉争商标与引证商标构成近似商标,易导致消费者对服务来源产生混淆误认,判决驳回丽之呈科技公司的诉讼请求。但丽之呈科技公司仍未放弃,继续向北京高院提起上诉。

图片

北京高院的二审判决却出现了反转,其认为诉争商标“美樾丽呈”与引证商标在文字构成、含义等方面并不近似,整体视觉效果也有较大差异,不构成近似商标,于是撤销了一审判决和被诉裁定,并要求国知局重新就丽橙酒店公司针对诉争商标提出的无效宣告请求作出裁定。这一结果让丽橙公司难以接受,随后向最高法提起再审。


最高法在再审中明确指出,在商标无效宣告请求审查中,判断是否构成近似商标,应从商标标志构成要素及音、形、义整体的近似程度出发,并考虑商标的显著性和知名度,以是否容易导致混淆为判断标准。在本案中,“丽呈”与“丽橙”文字构成重合度高、发音相近、含义无明显区别,诉争商标用于除“旅游房屋出租、会议室出租”外的服务时,易使公众对服务来源产生混淆,二审判决错误,诉争商标在这些服务上的注册不符合商标法第三十条规定。


除了“美樾丽呈”商标,对于“丽呈尊御”“丽呈咖啡”等商标,也经历了类似的无效宣告请求、诉讼等程序。在这些案件中,法院同样从商标的近似性、服务的类似性以及是否会导致消费者混淆等角度进行了审理和判断。最终,相关商标在部分服务上被认定为与“丽橙酒店”商标近似,其注册予以无效宣告。


这一案例也警示了各个企业,商标注册时务必重视商标的原创性和独特性,进行全面且细致的商标查询,避免与他人在先注册的商标近似,从源头上降低商标侵权风险。同时,企业必须尊重他人的在先商标权,秉持合法经营、公平竞争的原则。

相关文章:
  • 超全!商标注册类别选择方案
  • “耳光馄饨”告了“耳光馄饨”,究竟是谁侵权?
  • 商标被撤三了,重新注册有用吗?
  • 模仿他人店铺装潢,被判赔10万元
  • 水果店卖了12个“小糖丸”西瓜,却收到了法院传票,要赔偿3万元