“喝个锤子”商标多次被驳回,这几种驳回原因你知道吗?
  • 作者:小编
  • 发表时间:2025-08-18 09:08

近日,一个名为“喝个锤子”的饮料在网络爆红,引发网友热议。该饮品包装像一个锤子,产品上印着“喝个锤子”“好喝到爆”字样,饮品标价为16.9元。

图片

据悉,该款产品去年就有网友晒出来,也有网友评价:“口感不咋样,也不好喝。”有网友调侃“用来敲背肯定很舒服”。也有网友质疑:“造型别致,看起来就不好喝。”


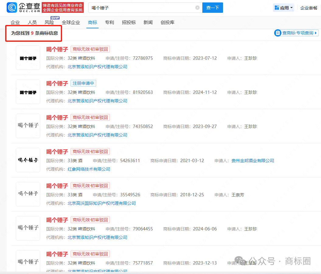
尽管它曾红极一时,但如今却面临着商标被驳回的尴尬境地。对于“喝个锤子”申请商标的情况,据查询,目前有9件商标申请记录,但目前无一核准注册。

图片

“喝个锤子”的商标被驳回原因


“喝个锤子”产品名字标新立异,虽然可能在短期内吸引眼球,但长期来看,这样的企业不仅容易让人误解其产品品质或服务态度,还可能挑战大众对于文明用语和社会公德的认知底线,进而对社会主义道德风尚产生潜在的负面影响。


在追求个性化、差异化品牌策略的同时,必须兼顾社会文化环境,尊重并遵守法律法规,坚持传播正能量,树立良好的品牌形象。毕竟,一个好的品牌,不仅要赢得市场,更要赢得人心,这才是真正的品牌之道,也是每个品牌应该铭记在心的原则和底线。


商标被驳回的常见原因


1、触犯到注册商标的绝对禁止条件导致驳回


最常见的是:易使公众对商品的质量等特点或产地发生“误认”以及“不良影响”而被驳回。“误认”一般需根据商标标识与其指定商品或服务是否存在相悖之处,是否具有行业关联性从而具有造成相关公众误认的可能性进行分析判断。


“不良影响”则需要考虑社会背景、政治背景、历史背景、文化传统、民族风俗、宗教政策等因素,商标局对“不良影响”的审查较为严格,申请人需要具有较高的敏感性才能避免踩雷。


2、与他人注册在先的商标近似被驳回


《商标法》第30条规定了申请注册的商标,同他人在同一种商品或者类似商品或服务上已经注册的或者初步审定的商标相同或者近似的,由商标局驳回申请,不予公告。


3、商标缺少显著性被驳回


《商标法》第九条规定:申请注册的商标,应当有显著特征,便于识别,并不得与他人在先取得的合法权利相冲突。


4、商标名称不规范被驳回


有些企业在进行商标设计时,经常会将文字进行特殊设计,或者在取名时使用成语的谐音作为商标。虽然有一定的吸引眼球的作用,但容易造成消费者对文字认读的偏差,根据目前审查规则,商标名称中出现非规范汉字通常会被认定为“不良影响”,驳回风险比较高。 


5、审查员的主观因素 


商标审查是人工审核的,会存在一定的主观意识,所以商标审查员的主观倾向也可能会导致商标被驳回。但是,商标审查员的专业素质还是无可挑剔的,商标因为商标审查员的主观倾向而被驳回的概率还是很低的。

相关文章:
  • 超全!商标注册类别选择方案
  • “耳光馄饨”告了“耳光馄饨”,究竟是谁侵权?
  • 商标被撤三了,重新注册有用吗?
  • 模仿他人店铺装潢,被判赔10万元
  • 水果店卖了12个“小糖丸”西瓜,却收到了法院传票,要赔偿3万元